English | 로그인 ㅣ ID/비번 찾기 ㅣ 회원가입/이메일 재인증
· 전체      · 기획특집     · 리뷰     · 취재     · 뉴스 전체     · 주요뉴스     · 신제품뉴스     · 쇼핑뉴스     · 보도자료    
삼성전자 웨어러블
안드로이드 XR 신규 업데이트, 삼성 '갤럭시 XR' 사용 경험 향상
출처: 삼성  삼성전자가 지난 10월 출시한 ‘갤럭시 XR’에 최신 안드로이드 XR 업데이트가 적용됐다. 이번 안드로이드 XR 업데이트는 PC 커넥트(PC Connect), 라이크니스(Likeness), 트래블 모드(Travel Mode) 등 세 가지 기능이 새롭게 적용됐다. 먼저, PC 커넥트는 컴퓨터 데스크...
2025/12/09 10:20:00     #안드로이드 XR, #삼성전자 웨어러블
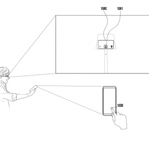
삼성 '갤럭시 글래스' 새로운 특허 출원…웨어러블 편의성 집중
출처: USPTO / https://www.xpertpick.com  삼성전자가 미국 특허청(USPTO)에 안드로이드 XR 기반 스마트 글래스 ‘갤럭시 글래스(가칭)’를 위한 새로운 특허를 출원한 것이 확인됐다. 이번 특허(출원번호 US 2025/0347929 A1)는 사용자 착용감과 안정성을 높이기 위한 조절식...
2025/11/25 16:45:58     #삼성전자 웨어러블
삼성 '갤럭시 XR'…삼성디스플레이 OLEDdoS 패널 탑재한다
갤럭시 XR  삼성디스플레이가 삼성전자의 확장현실(XR) 헤드셋 ‘갤럭시 XR’ 에 탑재될 핵심 부품인 마이크로 OLED(OLEDoS) 디스플레이 양산에 돌입했다고 외신이 국내 보고서를 인용해 10일(현지시간) 보도했다. 보도에 따르면 갤럭시 XR은 소니가 개발한 OLEDoS 기술을 기반으로 한 디스플레이를 ...
2025/11/11 09:31:55   스마트폰   #확장현실, #삼성전자 웨어러블
삼성 XR 헤드셋 '갤럭시 XR' 2026년 출시 확대하나
출처: 삼성 삼성전자가 공개한 확장현실(XR) 헤드셋 ‘갤럭시 XR’이 2026년 더 많은 국가에서 출시될 전망이다. 갤럭시 XR은 삼성, 구글, 퀄컴이 공동 개발한 새로운 플랫폼 ‘안드로이드 XR’을 최초로 탑재한 기기다. 하드웨어 사양으로는 스냅드래곤 XR2+ 2세대 칩셋, 16GB 램, 256GB 스토리지, 4...
2025/11/06 09:11:41     #확장현실, #삼성전자 웨어러블
삼성전자 '갤럭시 XR' 체험존, 1030세대에 인기
삼성전자가 이달 22일에 출시한 헤드셋 형태의 모바일 기기 '갤럭시 XR'이 뜨거운 관심을 받고 있다.삼성전자는 출시 당일부터 전국 7개 삼성스토어에서 '갤럭시 XR' 체험존을 운영하고 있다. 삼성스토어 홍대는 11월 5일까지, 삼성 강남과 더현대 서울의 체험존은 11월 8일까지의 예약이 다 찼다. * 강남(23일), 홍대, 더현대서울, ...
2025/10/29 12:38:41     #삼성전자 웨어러블
[영상] 삼성 '갤럭시 XR' 공식 언박싱 영상 공개
    삼성전자가 공식 유튜브 채널을 통해 첫 확장현실(XR) 헤드셋 ‘갤럭시 XR’ 언박싱 영상을 공개했다. ‘갤럭시 XR’ 구성품은 ▲갤럭시 XR 본체 및 보호덮개 ▲이마 쿠션 ▲이마 쿠션 간격 조절기 ▲외부광 차단 패드(좌/우) ▲전면 글래스 클리너 ▲사용 설명서/이용 약관 ▲배터리 팩...
2025/10/22 14:38:33     #삼성전자 웨어러블
삼성전자, 안드로이드 XR 기반 'AI 글래스' 개발 확인
출처: 샘모바일/삼성전자  삼성전자가 첫 XR(확장현실) 헤드셋 ‘갤럭시 XR’을 공개한 데 이어 AI 기반 스마트 안경 개발 계획도 공식화했다. 22일 해외 매체 샘모바일은 “삼성이 구글과 패션 안경 브랜드 젠틀몬스터,  워비파커와 협업해 향후 AI 스마트 안경을 출시할 계획”이라고 보도했다. ...
2025/10/22 14:06:25     #인공지능, #삼성전자 웨어러블
애플 비전 프로 반값 '갤럭시 XR' 공식 발표.. 주요 하드웨어 사양은?
22일 삼성전자가 새로운 AI 경험을 제공하는 헤드셋 형태의 모바일 기기 ‘갤럭시 XR(Galaxy XR)’을 공개했다. ‘갤럭시 XR’은 삼성전자와 구글, 퀄컴이 공동 개발한 ‘안드로이드 XR(Android XR)’ 플랫폼을 최초로 탑재한 제품이다. 사용자는 ‘갤럭시 XR’을 통해 물리적 제한없이 확장된 3차원의 공...
2025/10/22 11:45:11     #삼성전자 웨어러블, #애플 비전 프로
삼성, 갤럭시 XR 이어 'XR 글래스' 개발 중.. 중국서 새로운 특허 출원
출처: 중국 국가지식산권국  삼성전자가 갤럭시 XR(가칭)에 이어 XR 글래스 개발에도 속도를 내고 있다. 최근 외신은 삼성이 중국 국가지식산권국(CNIPA)에 갤럭시 스마트폰과 XR 글래스 기기 통합을 골자로 하는 새로운 특허를 출원했다고 보도했다. 삼성은 특허에서 시선 기반 제어 기술을 활용해 XR 글래스와...
2025/10/21 11:48:01     #확장현실, #삼성전자 웨어러블
삼성 '갤럭시 XR' 공식 발표 앞서 앱 생태계 구축 시작
 삼성전자의 첫 첫 확장현실(XR) 헤드셋 ‘갤럭시 XR(가칭)’의 생태계 구축이 시작됐다. 17일(현지시간) 외신은 구글 플레이 스토어 내에 "XR" 라벨이 붙은 앱들이 등록되고 있다고 보도했다. 최근 개발자 및 XR 커뮤니티를 중심으로 “XR” 라벨이 붙은 앱과 몰입형 콘텐츠, 인터랙티브...
2025/10/20 15:57:56   스마트폰   #구글 플레이스토어, #삼성전자 웨어러블
구글 포토, 삼성 '갤럭시 XR' 헤드셋 지원 준비 완료
출처: 삼성  구글 포토(Google Photos)가 삼성전자 첫 확장현실(XR) 헤드셋 지원을 위한 준비를 마친 것으로 확인됐다. 18일(현지시간) 샘모바일 등 외신에 따르면, 구글 포토 앱 최신 버전(v7.50)에서 삼성 XR 헤드셋 환경을 고려한 전용 기능들이 새롭게 적용된 것이 포착됐다. 삼성이 곧 ...
2025/10/20 09:17:11     #구글 포토, #삼성전자 웨어러블
삼성 '갤럭시 XR' 안전 가이드라인 공개.. 최소 사용 연령 13세 이상으로 설정
출처: 삼성  삼성이 오는 22일(한국시간) 공식 발표를 앞두고 차세대 XR 헤드셋 ‘갤럭시 XR’(코드명 프로젝트 무한)의 안전 가이드라인을 공개했다. 공개된 내용에 따르면, ‘갤럭시 XR’의 최소 사용 연령은 13세 이상으로 설정됐다. 장시간 착용 시 섬광, 발작, 현기증 등의 증상이 나타날 수 있으며, ...
2025/10/16 17:16:28     #삼성전자 웨어러블, #확장현실
삼성 XR 헤드셋 '프로젝트 무한' 10월 22일 출시 확정
출처: 삼성  삼성전자의 첫 확장현실(XR) 헤드셋 '프로젝트 무한(코드명)'이 오는 10월 22일(한국시간) 베일을 벗는다. 15일 삼성전자는 뉴스룸을 통해 10월 22일 ‘삼성 갤럭시 이벤트(Samsung Galaxy Event)’를 열고 멀티모달 AI 시대의 새로운 비전을 소개한다고 밝혔다. 프로젝트 무한...
2025/10/15 08:49:52     #확장현실, #삼성전자 웨어러블
삼성 XR 헤드셋 '프로젝트 무한' 공식 렌더링 및 세부 정보 유출
이미지 출처: 안드로이드헤드라인  삼성이 조만간 출시할 것으로 예상되는 확장현실(XR) 헤드셋 ‘프로젝트 무한(코드명)’의 렌더링과 세부 정보가 유출됐다. 해외 IT 매체 안드로이드헤드라인이 독점 공개한 렌더링에 따르면 ‘프로젝트 무한’ 디자인은 전면부에 여러 개의 카메라와 센서가 배치된 형태로, 아이 트래킹...
2025/10/13 15:59:44     #확장현실, #삼성전자 웨어러블
삼성전자, '갤럭시 워치' 기반 B2B용 '스마트싱스 프로 안전 관리 솔루션' 출시
삼성전자가 '갤럭시 워치'를 기반으로 한 B2B 전용 솔루션 '스마트싱스 프로 안전 관리 솔루션(SmartThings Pro for Safety)'을 30일 출시한다.'스마트싱스 프로 안전 관리 솔루션'은 삼성전자의 다양한 상업 공간별 최적화된 관리 솔루션을 제공하는 AI 기반 B2B 솔루션 '스마트싱스 프로'와 '갤럭시 워치' LTE 모...
2025/09/30 12:30:31     #삼성전자 웨어러블
삼성, 갤럭시 XR 헤드셋 출시일 확정했나? 내달 22일 출시 루머
출처: 삼성  삼성전자가 자사 최초 확장현실(XR) 헤드셋(코드명 프로젝트 무한)을 다음 달 공식 출시할 예정이다. 외신은 국내 보고서를 인용해 삼성이 한국 시간 기준 10월 22일 온라인 이벤트를 통해 갤럭시 XR을 공개할 계획이라고 보도했다. 당초 9월 말 공개가 예상됐으나, 최종 마케팅과 품질 검사를 위해...
2025/09/18 17:20:08     #확장현실, #삼성전자 웨어러블
삼성전자, 2026년 스마트 글래스 시장 진출하나
출처: 샘모바일  삼성전자가 XR(확장현실) 헤드셋에 이어 2026년 스마트 글래스 시장에 진출할 가능성이 제기됐다. 외신 보도에 따르면, 삼성은 디스플레이가 없는 보급형 모델과 XR 기반 고급형 모델 두 가지 스마트 글래스를 개발 중이며, 이르면 내년 말 공식 출시될 전망이다. 보급형 모델은 레이밴-메타...
2025/08/27 17:17:56     #삼성전자 웨어러블, #스마트 글래스
삼성 XR 헤드셋 '프로젝트 무한' 10월 출시 가능성.. 가격 250만원 이상
프로젝트 무한 (출처: 삼성)  삼성전자의 첫 안드로이드 XR 헤드셋 ‘프로젝트 무한’의 가격과 출시일이 유출됐다. 26일(현지시간) 외신 보도에 따르면, 삼성은 9월 29일 언팩 행사에서 XR 헤드셋을 공개하고, 10월 13일 한국을 시작으로 글로벌 시장에 순차 출시할 예정이다. 삼성 XR 헤드셋 가격은...
2025/08/27 11:48:33     #확장현실, #삼성전자 웨어러블
10월 출시설 삼성 XR 헤드셋, FCC 인증 통과
프로젝트 무한 (출처: 삼성)  삼성전자가 개발 중인 첫 XR 헤드셋(코드명: 프로젝트 무한)이 미국 FCC(연방통신위원회) 인증을 획득하며 글로벌 출시가 임박했음을 알렸다. 삼성은 XR 헤드셋의 하반기 출시를 공식 확인한 바 있으며, 이미 한국화학융합시험연구원(KTR)에서 SM-I610 모델 번호로 인증을 획득...
2025/08/13 17:17:59     #확장현실, #삼성전자 웨어러블
삼성 XR 헤드셋 '프로젝트 무한' 국내 인증 통과
프로젝트 무한 (출처: 삼성)  삼성전자가 올해 하반기 첫 확장현실(XR) 헤드셋 ‘프로젝트 무한(코드명)’을 출시할 예정인 가운데, 해당 기기가 최근 한국화학융합시험연구원(KTR) 인증을 통과한 것으로 확인됐다. 인증을 통과한 기기의 모델명은 SM-I610이며, 오는 9월 29일 한국에서 열리는 행사에서 공...
2025/07/23 17:49:38     #확장현실, #삼성전자 웨어러블
  •  
  • 1 of 7
  • 다음 ›
케이벤치 이벤트/공지사항
 
[일반공지]2025/04/03 사내 워크샵으로 인한 휴뮤 안내
[일반공지]케이벤치 컨텐츠 제작자/기자 채용 공고
[공지사항][이벤트 당첨 발표] 신년 3차 착한일 이벤트 당첨자 발표
[공지사항][이벤트 당첨 발표] 신년 2차 덕담 이벤트 당첨자 발표
[공지사항][이벤트 당첨 발표] 신년 1차 장비자랑 이벤트 당첨자 발표
[이벤트][이벤트] 케이벤치 베스트 어워드 및 2022년 신년 이벤트

케이벤치 많이 본 기사 TOP 10
뉴스
기사
2026 VCT 퍼시픽 킥오프 3주 차 예고.. 생존 이어간 T1과 DRX, 젠지는 조기 탈락
'갤럭시S26 울트라' 국내 모델, '스냅드래곤 8 엘리트 5세대' 오버클럭 버전 탑재 확인
2026 VCT 퍼시픽 킥오프 4주 차 예고.. ’파란’ 일으킨 농심 레드포스, 킥오프 제패 ‘정조준’
마블 라이벌즈 시즌6.5 13일 개막. 엘사 블러드스톤 전장에 합류
갤럭시S26 울트라 호환 25W Qi2 무선 충전기 'EP-P2900' 이미지 유출
갤럭시S26·S26+ '화이트' 색상 이렇게 생겼다
갤럭시S26 언팩 D-15, 2월 25일 공개 사실상 확정
갤럭시S26 탑재 '엑시노스 2600' AI 성능 '최고 수준'
소니, 차기 플래그쉽 무선 이어폰 'WF-1000XM6' 2월 12일 발표 확정
차기 '갤럭시S26 울트라' 전후면 디자인 보여주는 공식 렌더링 유출
뉴스
기사
인텔, 18A 공정 기반 ‘코어 울트라 시리즈 3’ 국내 출시… 차세대 AI PC 시장 공략
두개의 심장, 진정한 AI 공유기.. ASUS ROG Rapture GT-BE19000Ai
추억의 ‘북마스터’가 NPU 위에서 부활했다, 갤럭시 북6 런칭 팝업스토어 및 교보문고 AI 책봇 공개 행사를 가다
가성비와 실사용의 균형적인 게이밍 노트북, MSI 사이보그 15 B2RWEKG-C5
공기 흐름부터 공간 설계까지 최적화, 마이크로닉스 WIZMAX 스텔라
720Hz까지 확장된 주사율, 탠덤 OLED의 정점, ASUS ROG Swift OLED PG27AQWP-W
창립 30주년 기념 컨퍼런스 ‘JOBKOREA THE REBOOT’ 개최, 새 사명 웍스피어(Worxphere) 및 ‘AI 커리어 에이전트’ 전략 발표
지드래곤의 영감이 현실이 되다, 크로마틱 컬렉션 공개한 케이스티파이 도산 플래그십, 15주년 기념 현장을 가다
소비자 SSD 사업 ‘확대’ 선택한 키오시아, PCIe 5.0으로 한국 공략
3.95인치 LCD에 가성비까지 모두 챙긴, ABKO 포세이돈 P360L